当前位置:网站首页 > 卫生健康 > 瑞丽市中医傣医医院 > 诊疗服务

瑞丽市中医傣医医院入院流程

浏览量:1741   作者:  日期:2023/11/20

图片2

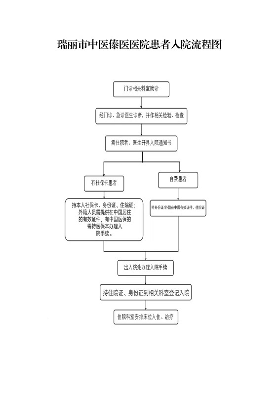
中傣医院入院流程图

文章来源:瑞丽市中医傣医医院
上一篇:“夏养三伏,冬养三九” 中傣医院推拿科“三九”敷贴12月21日正式开贴! 下一篇:瑞丽市中医傣医医院出院流程

主办单位:瑞丽市人民政府办公室  运行维护:瑞丽市电子政务股
滇ICP备13000534号-1    滇公网安备 53310002000503号
政府网站标识码:5331020001  常见问题  地址:瑞丽市新建路2号    邮编:678600
电话: 0692-4141329 0692-4119285